g8o8r8
На форуме 16 лет
Сообщения: 986
Откуда: Лен. обл.
Авто: ВАЗ 2104, ВАЗ 21114
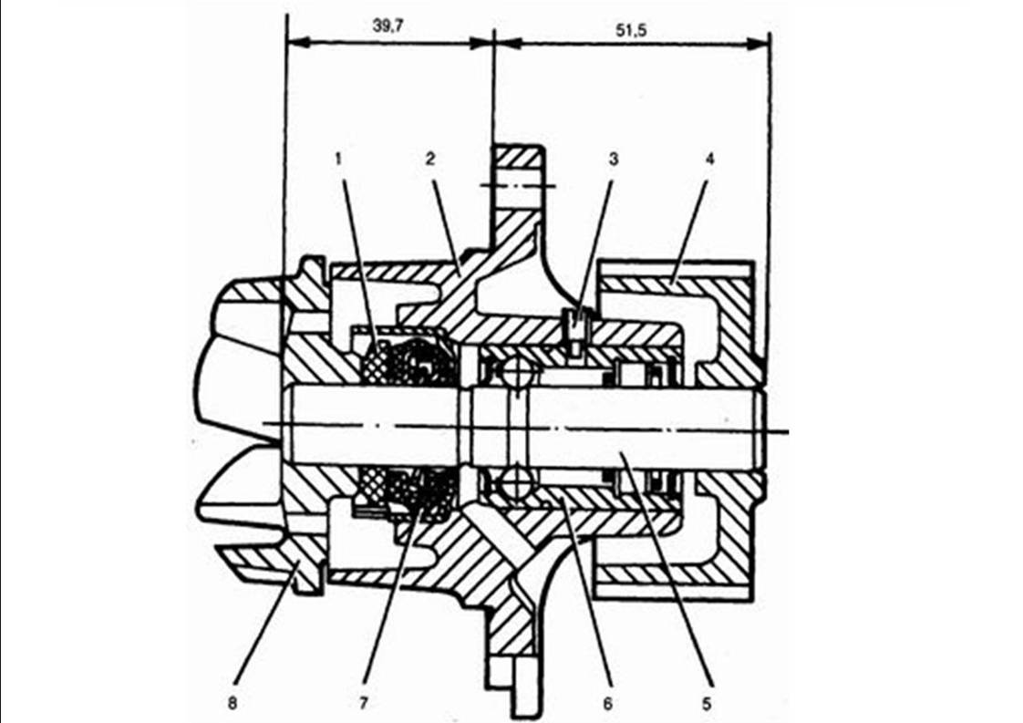
Перед установкой ТЗА - шприцуем:
- под номером ,,3,, - стопор. Вместо него вкручиваем масленку. Резьба М6.
Не забываем стопор поставить на место и накернить край.
Контрольное отверстие течи сальника и выхода излишков смазки - между сальником и подшипником - видно на разрезе хорошо.
| ТЗА.jpg |
| Описание: |
|
| Размер файла: |
65.33 KB |
| Просмотрено: |
273 раз(а) |

|
| Смазка ТЗА.jpg |
| Описание: |
|
| Размер файла: |
90.92 KB |
| Просмотрено: |
274 раз(а) |

|
-Viewer-
На форуме 19 лет
Сообщения: 10173
Откуда: Тульская область
Авто: Passat B5 1.8T AEB
g8o8r8
Зачем оно надо? Проблема помп ТЗА - дешёвые чайнийские комплектующие. Когда подшипник сделан из мягкого гамна, его хоть семенной жидкостью с мелкодисперсным золотым песком мажь - долго работать он не будет. То же самое с сальниками, подпускающими ОЖ в подшипник. Смазку вымоет любую, вопрос нескольких дней.
Нет, конечно можно ввернуть туда пресс-маслёнку, сделать автоподачу порции мазни при каждом запуске движка, но нужен ли он, головняк этот? Может проще взять ту помпу, у которой номинальный (без ухищрений) ресурс выше чем у ТЗА с "костылями"?
Dranik
На форуме 17 лет
Сообщения: 42138
Откуда: 42rus.г Кемерово.
Авто: 2108,2115карб,AstraG,AstraH Sd08г,2115 06г,Шеви NIVA(SE)17г,AstraH SD Cosmo 13г.Щас KIA Sportage11г,AstraH Sd13г,Niva Trаvel21г
да это не люфт это просто пицтос
Добавлено спустя 1 минуту 52 секунды:
g8o8r8 писал(а):Перед установкой ТЗА - шприцуем:
из говна конфетку не сделать,
-Viewer- писал(а):Проблема помп ТЗА - дешёвые чайнийские комплектующие. Когда подшипник сделан из мягкого гамна, его хоть семенной жидкостью с мелкодисперсным золотым песком мажь - долго работать он не будет. То же самое с сальниками, подпускающими ОЖ в подшипни
+много.
RMX
На форуме 14 лет
Сообщения: 385
Откуда: Казань
Авто: 2114 16V
-alex- писал(а):Привинтил сегодня маршрутнник. Температура в движении стоит ровно 78гр.. В машине тепло. Это нормально или как?
Приора? Маловато. 84-86 у меня в холода.
Foland11
На форуме 11 лет
Сообщения: 89
Откуда: Рязань
Авто: Приора универсал цвета "Космос" с ГУР.
g8o8r8 писал(а):Контрольное отверстие течи сальника и выхода излишков смазки - между сальником и подшипником - видно на разрезе хорошо.
Какое на хрен контрольное отверстие выхода смазки?!!!

Если от туда полезет смазка, то считай насос ты умудохал.

Сальник (пыльник) подшипника то выдавился, вот и поперла смазка из контрольки (смотри внимательно рисунок и фото)! И потом. Про совместимость смазок не начитан?
Че вы делаете, я не понимаю ни фига!!!
| В разрезе.jpg |
| Описание: |
|
| Размер файла: |
64.07 KB |
| Просмотрено: |
263 раз(а) |

|
| Подшипник ТЗА.jpg |
| Описание: |
|
| Размер файла: |
176.14 KB |
| Просмотрено: |
348 раз(а) |

|
-alex-
На форуме 19 лет
Сообщения: 3785
Откуда: Мск
Авто: Лучше турецкий лобовик, чем турецкое колено
Победитель Четверга писал(а):термос у тебя похоже таво
Да похоже термос не того.. просто он рассчитан на 78 гр.
Нагревается нормально, если постоять на месте температура подрастает, но при движении опять падает до 78 и ни градуса ниже. Т.е. сам термос-то пашет, но не в том диапазоне.
Кстати на лачетти так же было - там с завода установлен "холодный" термос, потом я его менял на опелевский на 92гр.
Менять его сложно? Сколько ож сливать? Что-то почитал инет там с крышкой меняют - а нахуа? Сам термоэлемент же можно поменять..
Dranik
На форуме 17 лет
Сообщения: 42138
Откуда: 42rus.г Кемерово.
Авто: 2108,2115карб,AstraG,AstraH Sd08г,2115 06г,Шеви NIVA(SE)17г,AstraH SD Cosmo 13г.Щас KIA Sportage11г,AstraH Sd13г,Niva Trаvel21г
-alex- писал(а):Да похоже термос не того.. просто он рассчитан на 78 гр.
нет таких термосов которые расчитаны на 78гр, не нужно тешить самого себя, менять тебе его всёравно придётся.
есть термос на 85гр именно такие Автоваз уже давно и ставит, но ни как не на 78гр.
-alex- писал(а):но при движении опять падает до 78 и ни градуса ниже
негерметичный потомучто.
4K6RMA
На форуме 18 лет
Сообщения: 1031
Откуда: Баку
Авто: двенаха с характером 1.5 16v 2003г. BOSСH 1.5.4 любимый конструктор
g8o8r8 писал(а):Перед установкой ТЗА - шприцуем
сколько прошла после смазки и какая смазка нашприцована?
а то лежит б.у. Т3А без люфта, ради интереса нашприцевал примерно 10мл литольчика и бросил с коробочку. Летом попробую на конструкторе если не продам
g8o8r8
На форуме 16 лет
Сообщения: 986
Откуда: Лен. обл.
Авто: ВАЗ 2104, ВАЗ 21114
4K6RMA писал(а):а то лежит б.у.
- хоть один внимательный нашелся! Снималась из за начало конца (подвывание). Люфта есно не присутствовало. После смазки отходила еще полтора года, пока не потекла . Заменил на КРАФТ - завыла на второй день. Заменил на ТЗА - завыла через неделю. Её же шприценул - ходит уже два года. Шприцевал есно только до известного щелчка.
Ни кого уговаривать не собираюсь - помпы мазались всегда, когда есть тех возможность предусмотренная заводом.
На ваз можно сказать это не предусмотрено. Т.к. к помпе практически не подобраться без разборки.
Foland11 - а я тебе рисунок американского спутника шпиона выложил (выше). Есть у меня этот вал помпы вместе с подшипником. Пыльник там резина. И он ни каким образом не припятствует смазке.
Двадцать лет мазал помпы ..... умники.
Dranik
На форуме 17 лет
Сообщения: 42138
Откуда: 42rus.г Кемерово.
Авто: 2108,2115карб,AstraG,AstraH Sd08г,2115 06г,Шеви NIVA(SE)17г,AstraH SD Cosmo 13г.Щас KIA Sportage11г,AstraH Sd13г,Niva Trаvel21г
g8o8r8 писал(а):Двадцать лет мазал помпы ..... умники.
дак умник то здесь ты, ещё не понял это?
g8o8r8 писал(а): После смазки отходила еще полтора года,
g8o8r8 писал(а):Её же шприценул - ходит уже два года
показатель это у тебя год или два?
в км скажи нам .... умник
Добавлено спустя 29 секунд:
g8o8r8 писал(а):Двадцать лет мазал помпы
дак в дурдоме тоже чулки вяжут по 8метров
а другие взяли нормальную помпу и ничего не шприцевали, и при этом радуются жизни, что они делают не так?
g8o8r8
На форуме 16 лет
Сообщения: 986
Откуда: Лен. обл.
Авто: ВАЗ 2104, ВАЗ 21114
Dranik писал(а): а другие взяли нормальную помпу
- и создали 62!!!! стр чесания в затылке! Что там про чулок ...... в 62 страницы темы????
Это тебе не о чем? Умник.
Dranik
На форуме 17 лет
Сообщения: 42138
Откуда: 42rus.г Кемерово.
Авто: 2108,2115карб,AstraG,AstraH Sd08г,2115 06г,Шеви NIVA(SE)17г,AstraH SD Cosmo 13г.Щас KIA Sportage11г,AstraH Sd13г,Niva Trаvel21г
g8o8r8 писал(а):Это тебе не о чем?
ну дак чо тама про км?
Foland11
На форуме 11 лет
Сообщения: 89
Откуда: Рязань
Авто: Приора универсал цвета "Космос" с ГУР.
g8o8r8 писал(а):Шприцевал есно только до известного щелчка.

Так сальник вылетает из подшипника.
g8o8r8 писал(а):помпы мазались всегда, когда есть тех возможность предусмотренная заводом.
Но у помп ВАЗов такого нет!
g8o8r8 писал(а):Foland11 - а я тебе рисунок американского спутника шпиона выложил (выше). Есть у меня этот вал помпы вместе с подшипником. Пыльник там резина. И он ни каким образом не припятствует смазке.

Ты чертеж помпы то изучи сначала. Спутник он видите ли запустил...
Господи! Во ведь какие! Не шарят ни фига, конструктива не знают, а спорить будут до усрачки.
g8o8r8 писал(а):Двадцать лет мазал помпы ..... умники.
Где? На ЗИЛ 130? Там можно и нужно.
-Viewer-
На форуме 19 лет
Сообщения: 10173
Откуда: Тульская область
Авто: Passat B5 1.8T AEB
-alex- писал(а):Менять его сложно? Сколько ож сливать? Что-то почитал инет там с крышкой меняют - а нахуа? Сам термоэлемент же можно поменять..
Менять не особо сложно. ОЖ сливать с блока, всю. Термоэлемент меняют с крышкой потому что термоэлементы бывают разные, крышки под них тоже разные. То есть не факт, что купленый тобой отдельный термоэлемент подойдёт под имеющуюся крышку.
А также. Если скорость прогрева движка и степень прогрева салона тебя устраивает, а на трассе ниже 78 мотор не вымерзает даже с печкой на среднем ходу, то я б не советовал менять термос.
g8o8r8 писал(а):и создали 62!!!! стр чесания в затылке!
Большая часть чесания связана с тем, что понаберут граждане всяких сифозных лузеров и пиленг, а затем идут сюда рассказывать о злоключениях связанных с.
А до 2011-го годя я пользовал ТЗА и очень был ими доволен. А потом вдруг раз - и капец, помпа не то что традиционные "два ремня", а и один-то пережить не в состоянии.
-alex-
На форуме 19 лет
Сообщения: 3785
Откуда: Мск
Авто: Лучше турецкий лобовик, чем турецкое колено
g8o8r8 писал(а):Двадцать лет мазал помпы .....
Купи приору!
Посмотрим сколько ещё будешь мазать помпы..
RMX
На форуме 14 лет
Сообщения: 385
Откуда: Казань
Авто: 2114 16V
Dranik писал(а):-alex- писал(а):Да похоже термос не того.. просто он рассчитан на 78 гр.
нет таких термосов которые расчитаны на 78гр, не нужно тешить самого себя, менять тебе его всёравно придётся.
есть термос на 85гр именно такие Автоваз уже давно и ставит, но ни как не на 78гр.
Насколько помню всегда заводскте термосы на ПП были на 87 градусов.
А на грантах сейчас вроде на 78 как раз идут.
-alex-
На форуме 19 лет
Сообщения: 3785
Откуда: Мск
Авто: Лучше турецкий лобовик, чем турецкое колено
Почитал приоровода, некоторые не советуют менять штатный типа из-за опасности перегрева летом.
Хз короче.. вроде и охота поменять , а вроде и нет..
Пониженный термостат вроде идет на евро-4 где-то мелькало.
Dranik
На форуме 17 лет
Сообщения: 42138
Откуда: 42rus.г Кемерово.
Авто: 2108,2115карб,AstraG,AstraH Sd08г,2115 06г,Шеви NIVA(SE)17г,AstraH SD Cosmo 13г.Щас KIA Sportage11г,AstraH Sd13г,Niva Trаvel21г
RMX писал(а):Насколько помню всегда заводскте термосы на ПП были на 87 градусов.
давно, очень давно,
у меня уже 15 06 года шла с термосом на 85гр в народе именуемый "холодным".
есно заменил по традиции на 87гр Польский 2108 .
RMX писал(а):А на грантах сейчас вроде на 78 как раз идут.
идут они на 85 или край 82гр, но так как качество этих термосос оставляет желать лучшего, травят , вот и беда у всех .
у товарища тоже на калине 12г с завода термос 78гр всегда
есно зимой это шляпа,
заменил ему по осени термос с предварительной варкой, теперь друган радуется стабильным 85гр как сообсно и написано на самом термосе.
Gordan
На форуме 14 лет
Сообщения: 1262
Откуда: 26 Rus
Авто: Ваз 21124 2007г.
-alex- писал(а):Привинтил сегодня маршрутнник. Температура в движении стоит ровно 78гр.. В машине тепло. Это нормально или как?
такая же ситуация только держит 80-82. с печкой на 4 скорости падает до 79-77. при этом нижний патрубок холодный. тарахтел на месте 86 гр патрубок холодный был, вышел проверять на 89 уже горячий. т.е. термостат работает? но машина не греется минут 10 грел до 99 и далее поехал 40 км/ч температура сразу упала до 82. термос менять? пропускает? пришло это с холодами. до этого ниже 90 не опускалось
Dranik
На форуме 17 лет
Сообщения: 42138
Откуда: 42rus.г Кемерово.
Авто: 2108,2115карб,AstraG,AstraH Sd08г,2115 06г,Шеви NIVA(SE)17г,AstraH SD Cosmo 13г.Щас KIA Sportage11г,AstraH Sd13г,Niva Trаvel21г
Gordan писал(а): т.е. термостат работает?
не совсем
Gordan писал(а):такая же ситуация только держит 80-82. с печкой на 4 скорости падает до 79-77.
не герметичный
Gordan писал(а): термос менять? пропускает?
скорее да чем нет.
-Viewer-
На форуме 19 лет
Сообщения: 10173
Откуда: Тульская область
Авто: Passat B5 1.8T AEB
Dranik писал(а):есно зимой это шляпа
Нормально оно зимой, всю прошлую проехал с термосом на 80, местами было до -30, дискомфорта не замечал. В холода вообще только одна проблема - прогреть хотя бы до 80-и, потому что как едешь 76, как встанешь - 72 и хоть обкакайся

.
В принципе, на 85 термос был бы гармоничнее чем на 80, но их не бывает, есть 80, 87 и 92. Ну и россиянско-чайнийские, на которых на всех пишут 85, а диапазон у них 78-97

.
Dranik
На форуме 17 лет
Сообщения: 42138
Откуда: 42rus.г Кемерово.
Авто: 2108,2115карб,AstraG,AstraH Sd08г,2115 06г,Шеви NIVA(SE)17г,AstraH SD Cosmo 13г.Щас KIA Sportage11г,AstraH Sd13г,Niva Trаvel21г
-Viewer- писал(а):Нормально оно зимой
ну у каждого понятие слова Нормально видимо разное
для меня нормально когда в машине зимой можно в майке ездить и когда из сопел дует не тёплый воздух а горячий в прямом смысле слова, вот это нормально, и когда ноги горят реально .
-Viewer- писал(а):В принципе, на 85 термос был бы гармоничнее чем на 80, но их не бывает, есть 80, 87 и 92
как не бывает? , они щас все и идут на 85 и а самих термосах 85гр выбито , другое дело что сами термосы нонешнии не отвечают заявленым цифрам
Dranik писал(а):заменил по осени термос на калине с предварительной варкой, теперь друган радуется стабильным 85гр как сообсно и написано на самом термосе.
Gordan
На форуме 14 лет
Сообщения: 1262
Откуда: 26 Rus
Авто: Ваз 21124 2007г.
спасибо
если это термостат и я его меняю на импортный (Обыкновенный
032 121 110 B, 87 - 102) , как у -Viewer-, ничего допиливать сверлить не надо?
RMX
На форуме 14 лет
Сообщения: 385
Откуда: Казань
Авто: 2114 16V
Dranik писал(а):RMX писал(а):Насколько помню всегда заводскте термосы на ПП были на 87 градусов.
давно, очень давно,
у меня уже 15 06 года шла с термосом на 85гр в народе именуемый "холодным".
есно заменил по традиции на 87гр Польский 2108 .
НУ х.з., у меня 10-го года - на 87.
Dranik
На форуме 17 лет
Сообщения: 42138
Откуда: 42rus.г Кемерово.
Авто: 2108,2115карб,AstraG,AstraH Sd08г,2115 06г,Шеви NIVA(SE)17г,AstraH SD Cosmo 13г.Щас KIA Sportage11г,AstraH Sd13г,Niva Trаvel21г
RMX писал(а):НУ х.з., у меня 10-го года - на 87.
Ваз же
сегодня пришли тувинцы в маг надо грит гену на приру с кондеем, товарищь даёт гену 2170 115А, через пол часа прилетают у нас другой гена просто 1.6 80А,
вот и Ваз
ставят что есть в корзине.
ИНФОРМАЦИЯ ПО ИКОНКАМ И ВОЗМОЖНОСТЯМ
Вы не можете начинать темы
Вы не можете отвечать на сообщения
Вы не можете редактировать свои сообщения
Вы не можете удалять свои сообщения
Вы не можете голосовать в опросах
Вы можете вкладывать файлы
Вы можете скачивать файлы